سه‌شنبه 6 آبان 1404

آیفون تاشو اپل آسیب‌دیدگی‌های خود را ترمیم می‌کند؟

وب‌گاه خبر آنلاین مشاهده در مرجع
آیفون تاشو اپل آسیب‌دیدگی‌های خود را ترمیم می‌کند؟

زومیت نوشت: حق اختراعی که اپل منتشر کرده نشان می‌دهد که نمایشگر آیفون تاشو این شرکت می‌تواند خودش آسیب‌های خودش را ترمیم کند! اما چگونه؟

اپل پس از سال‌ها مطالعه روی نمایشگرهایی که قادر به تا شدن هستند، اکنون وارد فاز اجرایی شده و به دنبال عرضه یک آیفون تاشو است که مشکل بزرگ گوشی‌های انعطاف‌پذیر را برطرف می‌کند: فناوری اپل چین و چروک وسط صفحه‌های تاشو را از بین می‌برد.

حداقل 5 سالی است که اپل روی یک آیفون منعطف کار می‌کند و آن‌ها را با اشکال مختلفی طراحی کرده است. اما موردی که اپل خیلی روی آن تأکید دارد، آسیب ندیدن نمایشگرها پس از هر بار تا شدن یا چرخیدن است.

حالا حق اختراع ثبت شده‌ای توسط اپل به نمایش درآمده که راهی برای کاهش این آسیب و برطرف کردن آن پس از بروز مشکل را ارائه می‌کند. این حق اختراع که با عنوان «دستگاه‌های الکترونیکی با لایه‌های پوششی نمایشگر منعطف» به ثبت رسیده، نقاط مستحکم و انعطاف‌پذیر یک نمایشگر را با یکدیگر ادغام می کند و از یک فناوری ویژه که اپل آن را «خود ترمیم شونده» می‌نامد، استفاده خواهد کرد.

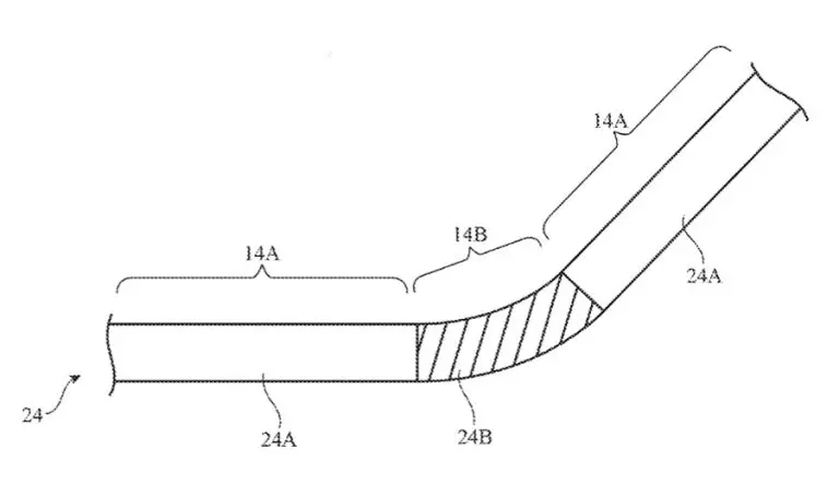
اتفاقاً همین بخش خود ترمیم شونده، هیجان‌انگیزترین بخش این حق اختراع اپل است. اپل 147 منبع با بیش از 11 هزار کلمه را برای جزئیات نحوه عملکرد این فناوری منتشر کرده است، ولی اطلاعات زیادی از چگونگی دستیابی به این فناوری وجود ندارد. اپل در این حق اختراع می‌گوید: یک دستگاه الکترونیکی شاید از یک لولا برخوردار باشد که به آن اجازه می‌دهد حول یک محور خم شود. برای تسهیل در خم شدن بدون هرگونه آسیب‌دیدگی، نمایشگر می‌تواند دارای یک لایه پوششی با یک بخش انعطاف‌پذیر باشد.

اپل پیشنهاد می‌کند در حالی که نمایشگر روی کل دستگاه را پوشانده است، از سه بخش اصلی تشکیل شود. دو بخش آن نمایشگرهای ثابت و معمولی باشند، در حالی که بخش سوم یک نمایشگر منعطف است که به این دو بخش متصل می‌شود. اپل در ادامه توضیح می‌دهد: حین کار با دستگاه، لایه پوششی نمایشگر ممکن است خراشیده یا آسیب‌دیده شود. برای زیبا به نظر رسیدن دستگاه باید احتمال بروز هرگونه آسیب‌بیدگی یا خراش به حداقل برسد. برای کمک به عیوب مختلف روی لایه پوششی نمایشگر، آن می‌تواند از یک لایه با مواد خود ترمیم شونده استفاده کند. لایه انطعاف‌پذیر نمایشگر می‌تواند خودش شامل یک لایه الاستومر باشد که یک ماده خود ترمیم شونده است.

الاستومر قابل کشش است که می‌توان آن را به حالت اولیه خودش بازگرداند. معمولاً توانایی بازگرداندن به حالت اولیه از طریق حرارت ایجاد می‌شود. درست مثل گرمای بدن شخصی که باعث بازگرداندن حالت یک فوم دارای حافظه در برخی تشک‌ها خواهد شد. فرآیند ترمیم ممکن است بدون جلب توجه خاصی، در لایه‌ای که مواد خود ترمیم شونده وجود دارد انجام شود. یک روش دیگر «خود درمانی» است که توسط یک گرمای خارجی مثل نور، جریان الکترونیکی یا هر نوع دیگری شبیه‌ساز خارجی اعمال می‌شود.

اپل در حق اختراع آیفون تاشو خودش پیشنهاد می‌کند که لایه پوششی نمایشگر از هادی‌های شفافی بهره‌مند باشد که دارای یک لایه گرم‌کننده هستند تا به محض آسیب دیدن، فرآیند ترمیم آغاز شود. این لایه گرم‌کننده ممکن است برای تولید گرما بر اساس یک برنامه از پیش تعیین شده یا هنگام شارژ شدن گوشی، فعال شود.

پتنت اپل امکان استفاده از این فناوری در موقعیت‌های مختلف را بررسی می‌کند. بنابراین می‌توان از آن در دستگاه‌های محاسباتی دیگری مثل کامپیوترها، لپ تاپ‌ها یا حتی ساعت‌های هوشمند نیز استفاده کرد. اپل می‌گوید ممکن است خارجی‌ترین لایه نمایشگر از جنس شیشه شفاف، پلاستیک شفاف، یاقوت کبود یا سایر مواد شفاف دیگر برای محافظت از مدارهای ترانزیستور لایه نازک‌تر و دیگر اجزای نمایشگر استفاده کند. این لایه بیرونی بعضاً به عنوان «لایه پوششی نمایشگر» نیز شناخته می‌شود.

این حق اختراع متعلق به 8 مخترع مختلف است و مربوط به نمایشگر یک گوشی آیفون تاشو است.

227227

کد خبر 1676304
آیفون تاشو اپل آسیب‌دیدگی‌های خود را ترمیم می‌کند؟ 2
آیفون تاشو اپل آسیب‌دیدگی‌های خود را ترمیم می‌کند؟ 3
آیفون تاشو اپل آسیب‌دیدگی‌های خود را ترمیم می‌کند؟ 4